Pin

Nuestra gama de escaleras y todas sus posibilidades de configuración. Descargar catálogo

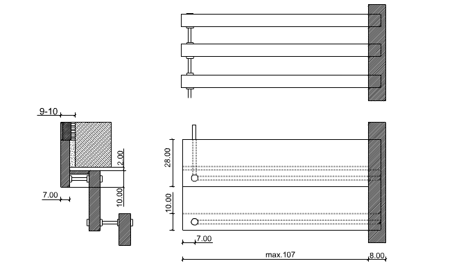
Principios técnicos